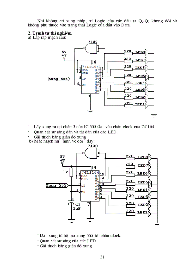
Dien tu

Dien tu

Tài liệu "Dien tu" có mã là 335926, file định dạng doc, có 32 trang, dung lượng file 1,503 kb. Tài liệu thuộc chuyên mục: Tài liệu phổ thông > Công Nghệ > Công nghệ Lớp 11. Tài liệu thuộc loại Bạc

image for page Dien tu
image for page Dien tu
image for page Dien tu
image for page Dien tu
image for page Dien tu
image for page Dien tu
image for page Dien tu
image for page Dien tu
image for page Dien tu
image for page Dien tu
image for page Dien tu
image for page Dien tu
image for page Dien tu
image for page Dien tu
image for page Dien tu
image for page Dien tu
image for page Dien tu
image for page Dien tu
image for page Dien tu

Mã tài liệu 335926

Các chức năng trên hệ thống được hướng dẫn đầy đủ và chi tiết nhất qua các video. Bạn click vào nút bên dưới để xem.

Có thể tài liệu Dien tu sử dụng nhiều loại font chữ mà máy tính bạn chưa có.
Bạn click vào nút bên dưới để tải chương trình cài đặt bộ font chữ đầy đủ nhất cho bạn.

Nếu phần nội dung, hình ảnh ,... trong tài liệu Dien tu có liên quan đến vi phạm bản quyền, bạn vui lòng click bên dưới báo cho chúng tôi biết.

Tài liệu vừa xem