Mạch ổn áp

Mạch ổn áp

Tài liệu "Mạch ổn áp" có mã là 595626, file định dạng doc, có 7 trang, dung lượng file 1,356 kb. Tài liệu thuộc chuyên mục: Tài liệu chuyên ngành > Kỹ Thuật Công Nghệ > Điện - Điện Tử. Tài liệu thuộc loại Đồng

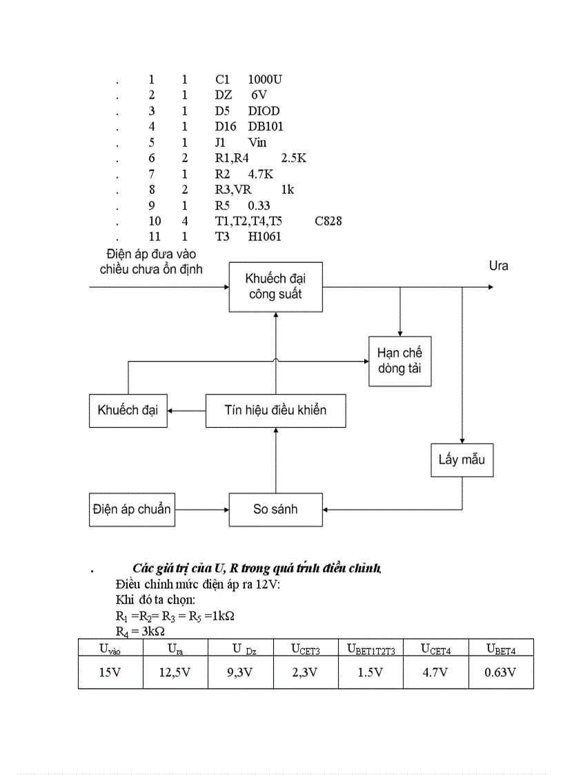
image for page Mạch ổn áp
image for page Mạch ổn áp
image for page Mạch ổn áp
image for page Mạch ổn áp
image for page Mạch ổn áp
image for page Mạch ổn áp
image for page Mạch ổn áp

Mã tài liệu 595626

Các chức năng trên hệ thống được hướng dẫn đầy đủ và chi tiết nhất qua các video. Bạn click vào nút bên dưới để xem.

Có thể tài liệu Mạch ổn áp sử dụng nhiều loại font chữ mà máy tính bạn chưa có.
Bạn click vào nút bên dưới để tải chương trình cài đặt bộ font chữ đầy đủ nhất cho bạn.

Nếu phần nội dung, hình ảnh ,... trong tài liệu Mạch ổn áp có liên quan đến vi phạm bản quyền, bạn vui lòng click bên dưới báo cho chúng tôi biết.

Tài liệu vừa xem