Cnc

Cnc

Tài liệu "Cnc" có mã là 246096, file định dạng rar, có 27 trang, dung lượng file 1,527 kb. Tài liệu thuộc chuyên mục: Luận văn đồ án > Kỹ thuật - Công nghệ > Kỹ thuật điện - điện tử. Tài liệu thuộc loại Bạc

image for page Cnc
image for page Cnc
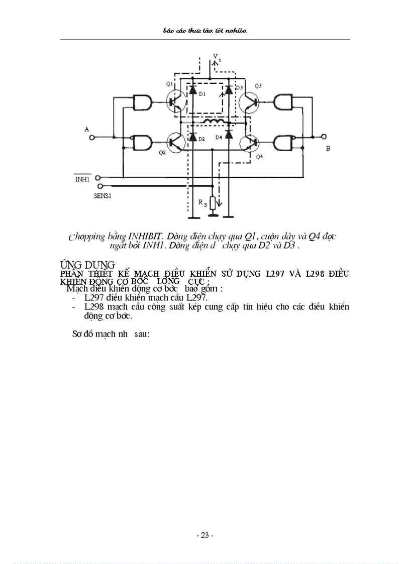
image for page Cnc
image for page Cnc
image for page Cnc
image for page Cnc
image for page Cnc
image for page Cnc
image for page Cnc
image for page Cnc
image for page Cnc
image for page Cnc
image for page Cnc
image for page Cnc
image for page Cnc

Mã tài liệu 246096

Các chức năng trên hệ thống được hướng dẫn đầy đủ và chi tiết nhất qua các video. Bạn click vào nút bên dưới để xem.

Có thể tài liệu Cnc sử dụng nhiều loại font chữ mà máy tính bạn chưa có.
Bạn click vào nút bên dưới để tải chương trình cài đặt bộ font chữ đầy đủ nhất cho bạn.

Nếu phần nội dung, hình ảnh ,... trong tài liệu Cnc có liên quan đến vi phạm bản quyền, bạn vui lòng click bên dưới báo cho chúng tôi biết.

Tài liệu vừa xem